Wist je dat Google in 2019 het fundament van moderne AI patenteerde en daarna… niets deed?

Nieuws
woensdag, 14 januari 2026 om 20:17
Wist je dat Google in 2019 het fundament van moderne AI patenteerde
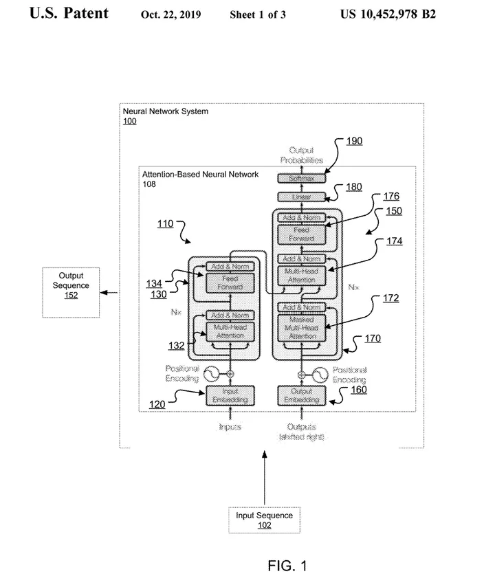
Google verkreeg in oktober 2019 een Amerikaans patent op de Transformer-architectuur, de technologische basis van vrijwel alle moderne kunstmatige intelligentie. Het bedrijf koos er bewust voor om dit patent niet actief te handhaven. Daardoor konden concurrenten als OpenAI, Meta en Anthropic vrij bouwen op dezelfde technologie en groeide de AI-sector uit tot een industrie met een geschatte waarde van biljoenen dollars.
Het patent, geregistreerd als US 10,452,978 B2, beschrijft een attention-based neural network dat sterk overeenkomt met de Transformer-architectuur die Google-onderzoekers in 2017 introduceerden in het baanbrekende paper Attention Is All You Need. Deze architectuur vormt vandaag de kern van grote taalmodellen, beeldgeneratie en spraakherkenning.

Wat is de Transformer-architectuur?

De Transformer-architectuur is een type neuraal netwerk dat gebruikmaakt van zogeheten attention-mechanismen. In plaats van woorden of data sequentieel te verwerken, zoals oudere modellen deden, kan een Transformer gelijktijdig relaties leggen tussen alle onderdelen van een invoer.
Dit maakt modellen:
  • Sneller te trainen
  • Beter schaalbaar
  • Effectiever in taal, beeld en audio
Vrijwel alle grote AI-modellen, waaronder chatbots en generatieve systemen, bouwen voort op dit principe. Zonder Transformers zou de huidige AI-boom simpelweg niet bestaan.
us patent tarnsistor

Waarom Google het patent niet afdwingt

Hoewel patenten vaak worden gezien als juridische wapens, gebruiken grote technologiebedrijven ze vooral defensief. Google is hierop geen uitzondering. Het doel van dit soort patenten is niet om concurrenten te blokkeren, maar om te voorkomen dat anderen dezelfde technologie patenteren en vervolgens rechtszaken starten.
Defensief patenteren is in Silicon Valley een gangbare strategie. Bedrijven leggen innovaties vast om juridische zekerheid te creëren, niet om exclusiviteit af te dwingen. Het actief handhaven van dit specifieke patent zou bovendien grote risico’s hebben opgeleverd.
Als Google concurrenten had aangeklaagd, zou dat waarschijnlijk hebben geleid tot langdurige juridische conflicten tussen techreuzen. Zulke patentoorlogen vertragen innovatie, verhogen kosten en leveren vooral advocatenkantoren winst op.

Publiceren versus patenteren

In theorie kan publicatie voldoende zijn om te voorkomen dat anderen een idee patenteren. Zodra iets openbaar is gemaakt, verliest het zijn patentbaarheid. Toch kiezen bedrijven vaak alsnog voor een patent.
De reden is eenvoudig. Publicatie voorkomt misbruik door anderen, maar biedt geen juridische bescherming als een derde partij beweert eerdere rechten te hebben. Een patent daarentegen creëert een duidelijk juridisch eigendom dat internationaal afdwingbaar is.
Voor bedrijven als Google, met wereldwijde activiteiten en miljardenbelangen, weegt die zekerheid zwaarder dan de kosten van een patentaanvraag.

Gevolgen voor de AI-industrie

Door het patent niet te handhaven, liet Google ruimte voor een open innovatiemodel. OpenAI kon GPT-modellen ontwikkelen. Meta kon open-source AI publiceren. Startups konden investeren zonder angst voor juridische blokkades.
Dit leidde tot:
  • Snelle schaalvergroting van AI-ontwikkeling
  • Massale investeringen in AI-bedrijven
  • Versnelling van innovatie in meerdere sectoren
Ironisch genoeg profiteerde Google hier indirect van. Het bedrijf bouwde zelf verder aan AI-producten, terwijl de bredere markt de technologie valideerde en volwassen maakte.

Strategische terughoudendheid als kracht

De keuze van Google toont een bredere realiteit binnen de technologiesector. Innovatie ontstaat niet alleen door controle, maar ook door terughoudendheid. Wanneer alle spelers hun juridische macht maximaal inzetten, komt vooruitgang tot stilstand.
In dit geval bleek niets doen een van de meest invloedrijke beslissingen in de geschiedenis van kunstmatige intelligentie.
loading

Populair nieuws

Laatste reacties

Loading